パイジョン - 可変機能シリーズ
3次元ブラケット ステンレス品
パイプで遠隔取付に(最大曲げ角40°)
◎ネジのかじりつき防止対策としてフッ素化樹脂コーティングを施しています。
◎材質:SUS304
◎ネジのかじりつき防止対策としてフッ素化樹脂コーティングを施しています。
◎材質:SUS304

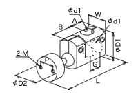
■ネジ取付
※耐荷重=球センターより50mm
| 品 番 | φd1 (H8) |
φD1 | A | B | W | G | L | φD2 | P | 2-M× 有効 |
締付 ネジ |
耐荷重 N |
|---|---|---|---|---|---|---|---|---|---|---|---|---|
| SBC360F | φ10 | φ20 | 13 | 19.5 | 14 | 13 | 49.5 | φ15 | 9 | M3×6 | 2-M4 | 37 |
| SBC360G | φ12 | φ25 | 15 | 25.5 | 18 | 15 | 63.5 | φ22 | 12 | M4×8 | 2-M4 | 78 |
| SBC360Q | φ20 | φ37 | 22 | 39 | 26 | 22 | 95.5 | φ29 | 18 | M6×12 | 2-M5 | 177 |

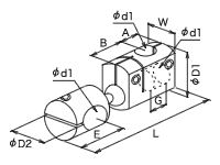
■水平取付
※耐荷重=球センターより50mm
| 品 番 | φd1 (H8) |
φD1 | A | B | W | G | L | φD2 | E | 締付 ネジ |
耐荷重 N |
|---|---|---|---|---|---|---|---|---|---|---|---|
| SBC363F | φ10 | φ20 | 13 | 19.5 | 14 | 13 | 61.5 | φ15 | 13.5 | 3-M4 | 37 |
| SBC363G | φ12 | φ25 | 15 | 25.5 | 18 | 15 | 73.5 | φ22 | 14 | 3-M4 | 78 |
| SBC363Q | φ20 | φ37 | 22 | 39 | 26 | 22 | 114.5 | φ29 | 20.5 | 3-M5 | 177 |
※品番をクリックすると、CADデータのダウンロードページへ移動できます。






















